Apple continue d’enregistrer des brevets pour une technologie flexible, signe que la société investit massivement dans cette technologie pour l’avenir.
Selon un nouveau brevet, un iPhone pliable Apple pourrait inclure un corps flexible qui peut protéger l’écran et le matériel de l’appareil.
Le principal défi auquel sont confrontés les principaux fabricants des smartphones pliables tels que Samsung est de trouver un design à la fois résistant et flexible à la fois, afin d’éviter que l’écran ne se casse. Mais ce n’est pas tout, car les entreprises doivent également développer des moyens efficaces pour héberger l’appareil, avec un châssis et un couvercle qui protègent l’appareil, tout en conservant la flexibilité de l’appareil.
iPhone pliable avec écran flexible
Dans un nouveau brevet octroyé mardi par l’Office des brevets et des marques des États-Unis, intitulé » Corps et écran pliable pour un appareil électronique « , il nous montre comment Apple imagine qu’il crée un smartphone pliable, équipé d’un écran flexible et d’un corps externe qui peut laissez l’appareil se plier.
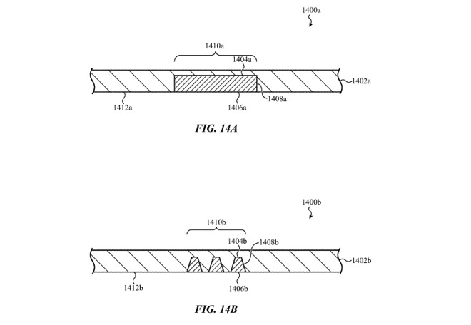
Apple suggère d’utiliser des feuilles flexibles, pour le corps de l’appareil, et une couche de l’écran flexible couplée ensemble. Les deux niveaux sont configurés de manière à pouvoir se déplacer entre deux configurations différentes lorsqu’ils sont pliés et ouverts, la couche supérieure allant se plier en des points spécifiques appelés » région de pliage « .
Une telle zone pourrait être créée en utilisant un matériau céramique , tel que du verre, de la céramique oxyde ou un autre matériau céramique. Dans certains cas, il pourrait également consister en une couche continue de matériau céramique, qui fournit une surface résistante aux chocs ou aux rayures, et une deuxième couche interne qui peut être utilisée pour se fixer à la couche d’affichage.

La couche continue peut être traitée de manière à avoir une épaisseur variable, de sorte qu’elle peut être pliée en des points spécifiques. Cela peut également inclure l’ajout d’éléments surélevés à l’intérieur ou à l’extérieur de cette couche pour permettre au matériau de se déplacer, tandis que le reste de la couche est rempli d’un matériau plus doux pour fournir un support tout en restant malléable.
Une situation similaire pourrait également être adoptée pour le substrat d’affichage, lui permettant de se plier le long de lignes spécifiques. Dans ce cas également, pour maintenir une certaine résistance, il est possible de remplir le substrat en verre avec des sections surélevées remplies d’un plastique transparent ou de silice. De cette façon, si le matériau est soumis à une forte compression, il peut toujours se déplacer, évitant ainsi la rupture.
En utilisant une structure à plusieurs niveaux, Apple pourrait fabriquer un appareil avec une conception à plis multiples , de type zigzag, afin que l’appareil puisse être plié avec deux types de plis différents.

Ce brevet n’est pas quelque chose de complètement nouveau pour Apple, étant donné qu’il s’agit d’une version modifiée d’un brevet délivré en 2018, à tel point que même la liste des inventeurs est la même: Christopher D. Jones, Dale N. Memering et Christopher C. Bartlow.
Bien sûr, comme pour tous les brevets, rien ne garantit que cette technologie ou quelque chose de similaire verra le jour dans un produit destiné à la vente, cependant, il est clair que la société Cupertino investit massivement dans le développement de la technologie pliage.